2022年9月30日で会社を辞めました。そこから専業になりました。そして現在(2026.3.31)に至るわけですが、とりあえず、成績を残すことにしました。その時の反省など踏まえて・・・日々の細かい出来事は今週の株式投資に記録していますが、成績をまとめたほうが自分にとってもいいかなと思い記録として残しておくことにしました。今月の結果です。
INDEX
架空(ゆめ)は現実に。言い忘れてたけど、これはワイが最高の投資家になるまでの物語だ
今は読んでませんが、また大人買いしてまとめて読みたいなと思っているのですが「僕のヒーローアカデミア」という漫画からセリフといただきました。
夢を現実にするためには、夢や目標を明確にし、ゴールから逆算して計画を立て、実行する。ただこれだけ。らしい。行動が大切だとは思う。なので、そのための一つとしてアウトプット。これをしていく。

とりあえず、1000万円を元本として信用取引で取引を積み重ねていってます。信用を使うのは手数料が安いからであり、元本を超えるような取引はなるべくしないと決めています。そして、取引の殆どが専業になったためデイトレードになります。次の取引結果を見ていただければわかると思います。 それでは今月の結果ですが・・・
2026年3月の投機戦績(決済日ベース)
負けも勝ちも記録に残す。出ないと公平でない。負けも勝ちも意味があるものにしたいから、と前置きが長くなりましたが、2026年2月の成績は以下の通りです。マーケットスピードから画像を貼り付けてます。プラスでは終われました。+267千円です。プラスならええやんと思うかも知れませんが・・・馬鹿な取引をして大損してしまいました。
大きなロスカットは赤枠で囲ってみました。3/3は安川電機と清水建設・・・上げると思ったんや銘柄入れ替えで・・・イビデンのほうが正解でしたけどね。3/5は三井ESですね。買ったらダダ下げ、速攻でロスカットですわ。3/13はSaaSの死で日本電気でやられました。3/25は三井ESですね。ホンマによくやられるわ三井ES・・・現物はリクルートでやられました。ただ、これは保有し続けても良かったですね。そして3/31・・・最後の最後で日本製鋼所にやられました。本当に大損です40万円以上です。それでもなんとかデイトレ頑張って、 ギリギリプラスで終えることができました。このギリギリプラスは最終日に日本製鋼所をロスカットしてマイナスになったところからの復活です。めちゃ疲れたんやで!
3月の10000円以上の損失だけ昇順に並べてみました。今月のロスカットは額がでかいんや。神社に行ってロスカットできなかった日の鹿島!▲70万って普段のワイならこんな額になる前に間違いなく切ってるわ。いろいろやらかしてはいるけれど、もっとこうね・・・チャートを読まないといけないわ。デイトレならね。
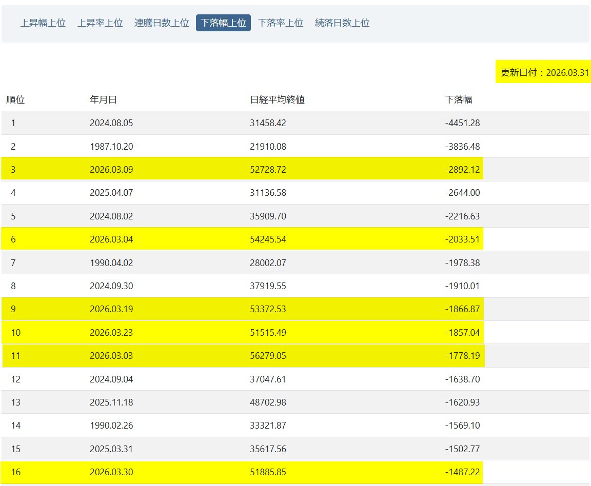
二日振甫は荒れるといいますが、2026年3月は値下がり幅上位20ランキングに6営業日も入ってるんですよ。21営業日中6営業日もね。そして値上がり幅には2営業日入ってる。つまりは何が言いたいのかと言うとボラが半端ないのよ。3月は本当に荒れた海のような相場でした。チャートの波が高すぎて上手く乗り切れませんでした。
クソボラすぎるんよ。ホンマになんやねんって思いますわ。
とりあえず、全然関係ないけれど京都府知事選挙は浜田さんに投票しますわ。参議院議員も浜田さんに投票したからね。全くの死に票でしたが・・・ま、頑張りますよ。
学び (メイン)
連敗を続けると頭がおかしくなる。負けに負けを重ねました。そこから獲られてものはなんでしょうね。改めて思ったのは以下の図。にしても何をやってもうまく行かない。本当に何をやってもうまく行かない。全然波に乗れてない。ある意味株価を見ないほうが良いのかも知れない。

神頼みするならロスカットしろ!
優待は大概損する・・・三井ESの配当取りで含み損が61万円!京セラ10万
ポジポジ病を治せ!
勝てると思った取引だけをしろ!
経験則と理論と勉強と・・・まぁワイは幸いなことに、経験だけは随分と積んできましたからね。あとはメンタルを鍛えないとですね。ポジポジ病にかかってる。そしてビビっている。恐れることは悪いことではない。正しく恐れてうまく相場をわたって、いずれは自分なりの聖杯を手にしたいものやで!聖杯よりも日本人なら打ち出の小槌かな!! 日経の3ヶ月チャートは以下のとおりです。3月は6960円以上日経が下げているのに全然波に全然乗れませんでしたよ。ただこれを糧にしたい。こんなにやることなすこと上手くいかなかったことはない。でもねお金が少ないときにこういった経験ができてよかったんや・・・そう思わないとやってられない(;д;)グスン
そして今月末の参考資料は以下の通りです。今年一年お疲れ様でした。来年も相場を真剣に考えて、知恵を出して乗り切りたいと思います。
補足 (この月のブログ一覧は一番下にあります)
ワイの下手くそさを改めて知るために、自戒の意味を込めて、楽天証券を開設した2005年から2019年までの戦績をここに記録しておきます。2016年以外は損しかしてません。 が、昨年は800万円以上と過去最大の損失!今年も年初から370万円を超える損失を出したところからのスタートです。壮大な詐欺にあってくやしい値ってやつですね。まぁでも命をとられたわけではない。ココから這い上がるんやで!ココからは勝ち続けないといけない。

最後に
架空(ゆめ)は現実に。言い忘れてたけど、これはワイが最高のトレーダーになるまでの物語だ!!!!!!!!

そして
INDEX1 今週の予定2 R8.3.9 今日は大波乱の予感!週末いつも何かがあるね・・・持ち越せないわ!サマータイムが…
INDEX1 今週の予定2 R8.3.23 今日は来るのか?ブラックマンデー・・・ってか大幅安はあってもブラマンは無いで…
INDEX1 今週の予定2 R8.3.30 ぶっちゃけ▲3000はいくと思ってる・・・今週中に5万割れっすねって思うブラ…






